Zum Hauptinhalt springen Zur Suche springen Zur Hauptnavigation springen
Technische Daten
Produktbilder
Dokumente

RRJ_RJ45_STBCAT6 - RJ45-Einbaubuchse CAT6

RJ45-Einbaubuchse für CAT 6 Ethernet-Netzwerke. Die Einbaubuche wird rückseitig über die RJ45-Buchse mit dem Netzerk verbunden. Über die frontseitige RJ45-Buchse kann dann bei Bedarf ein Endgerät in das Netzwerk eingebunden werden.

Baureihe
RONTRON-R-JUWEL
Einbauöffnung
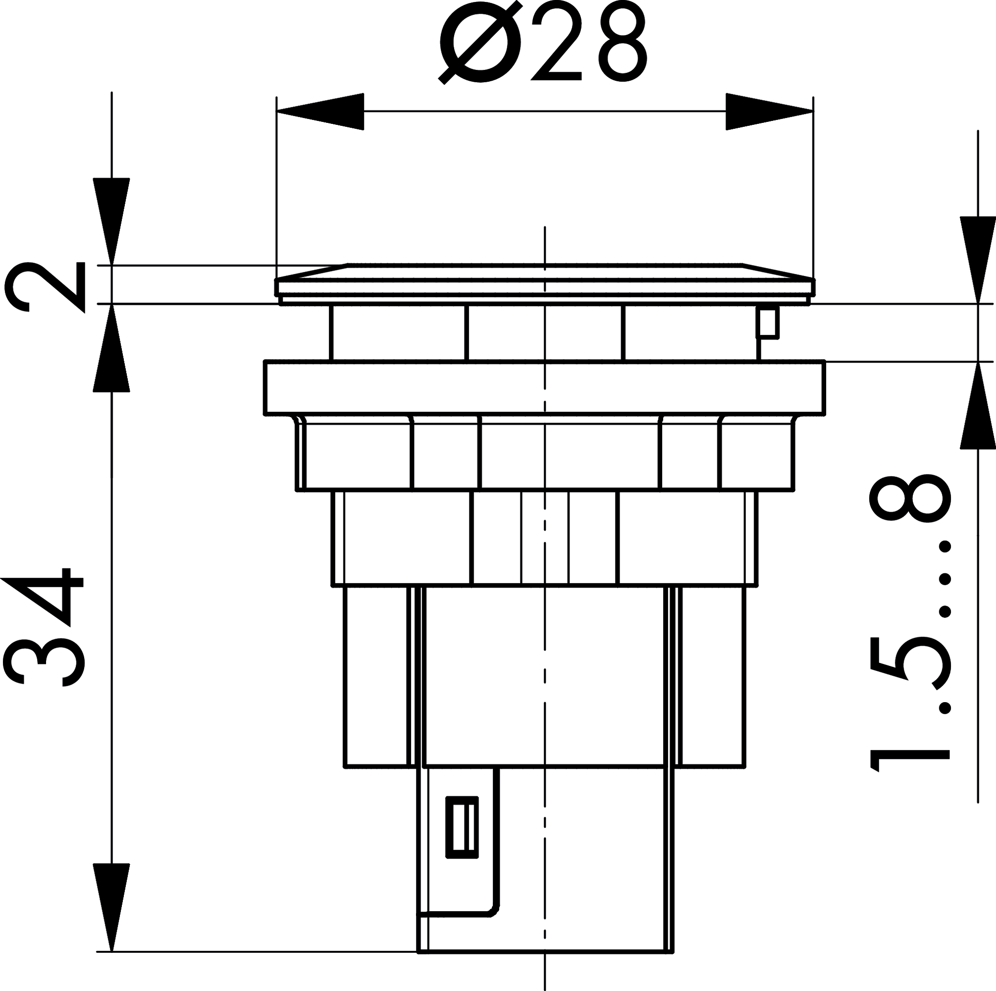
Ø 22,3 mm
Farbe Frontrahmen
silberfarben
Bauform
rund
Schutzart Vorne
IP50
Betriebstemperatur
-20°C ... 60°C
Technische Skizzen
Maßskizze RRJ_RJ45_STBCAT6
Bohrbild RRJ_RJ45_STBCAT6
Auszeichnungen
Auszeichnung RRJ_USB3_150CM
Auszeichnung RRJ_USB3_150CM
Auszeichnung RRJ_USB3_150CM
Produktbild RRJ_RJ45_STBCAT6
Icon E-Mail Icon Telefon